| |
|---|---|
| (点击题目可以在互联网中搜索该题目的相关内容) 日期:2006-10-15 23:02:18 来源:PLC之家 作者: 点击: | |
|
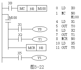
FX系列PLC有基本逻辑指令20或27条、步进指令2条、功能指令100多条(不同系列有所不同)。本节以FX2N为例,介绍其基本逻辑指令和步进指令及其应用。 FX2N的共有27条基本逻辑指令,其中包含了有些子系列PLC的20条基本逻辑指令。 主控指令(MC/MCR) (1)MC(主控指令) 用于公共串联触点的连接。执行MC后,左母线移到MC触点的后面。 (2)MCR(主控复位指令) 它是MC指令的复位指令,即利用MCR指令恢复原左母线的位置。 在编程时常会出现这样的情况,多个线圈同时受一个或一组触点控制,如果在每个线圈的控制电路中都串入同样的触点,将占用很多存储单元,使用主控指令就可以解决这一问题。MC、MCR指令的使用如图1所示,利用MC N0 M100实现左母线右移,使Y0、Y1都在X0的控制之下,其中N0表示嵌套等级,在无嵌套结构中N0的使用次数无限制;利用MCR N0恢复到原左母线状态。如果X0断开则会跳过MC、MCR之间的指令向下执行。
图1 主控指令的使用 MC、MCR指令的使用说明: 1)MC、MCR指令的目标元件为Y和M,但不能用特殊辅助继电器。MC占3个程序步,MCR占2个程序步; 2)主控触点在梯形图中与一般触点垂直(如图3-22中的M100)。主控触点是与左母线相连的常开触点,是控制一组电路的总开关。与主控触点相连的触点必须用LD或LDI指令。 3)MC指令的输入触点断开时,在MC和MCR之内的积算定时器、计数器、用复位/置位指令驱动的元件保持其之前的状态不变。非积算定时器和计数器,用OUT指令驱动的元件将复位,如图3-22中当X0断开,Y0和Y1即变为OFF。 4)在一个MC指令区内若再使用MC指令称为嵌套。嵌套级数最多为8级,编号按N0→N1→N2→N3→N4→N5→N6→N7顺序增大,每级的返回用对应的MCR指令,从编号大的嵌套级开始复位。 |
|
| 上一篇: 功能表-功能表图转换实现的基本规则及绘制功能表图的注意事项 下一篇: 三菱FX系列PLC堆栈指令(MPS/MRD/MPP) |
