| |
|---|---|
| (点击题目 可以在互 联 网中搜索该题 目的相关内容) 日期:2006-12-26 22:28:31 来源: 中国自动化网 作者: 点击: | |
|
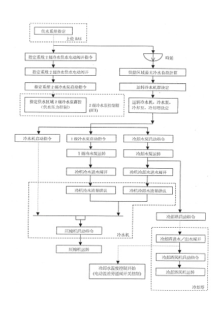
1 引言 随着我国国民经济的不断向前发展,城市建设日新月异,越来越多的大型公共建筑出现在城市的建设中。建筑行业的发展状况,从某种意义来说,是国民经济发展的晴雨表和温度计。 一座大型的现代化建筑的成功建成,首先是离不开优秀的设计,而优秀的设计必定是各种先进科学技术应用的集成。作为现代建筑设计的一个重要组成部分¬—暖通空调工程设计的质量优劣,在很大程度上取决于对一系列技术问题的科学决策,比如系统方案的选择,设备的选择等。在进行决策时,不仅要对系统的先进性、实用性、经济性进行分析比较,同时也需要对系统建成后投入使用时的营运管理和经济效益进行分析比较。随着暖通空调学科的发展和社会对人工环境要求的提高,使得对原本就显得复杂、繁重的大型建筑工程项目设计决策更加重要。当前大型现代化建筑暖通空调工程设计要突出的重点是什么?要解决什么难点?需要采用哪些新的技术?这些都是非常值得暖通空调设计人员认真思考的。 2 项目空调制冷系统概况 广州国际会议展览中心一期工程占地面积约70万平方米,建筑面积近40万平方米,共有16个大型的展览厅,以及洽谈室、办公室、会议室、餐厅等配套功能用房。工程建成后,作为中国出口商品交易会新场馆使用。 广州国际会议展览中心空调系统共有双级压缩离心式冷水机组11台,总冷量共64641KW,其中7034KW8台,3517KW2台,1136KW1台,冷冻、冷却水泵38台,冷却塔11组55台,空调冷风柜机310 台,风机盘管720台,风机457台,诱导风机1250台,空调系统总装机电容量约25680KW。空调设备中,冷冻二级泵、冷却塔风机及冷风柜风机等均采用了先进的变频控制技术控制其运行。如此庞大单体建筑空调系统,其规模在国内甚至世界来说,都是不多见的,如果完全由人工来控制运行,不但需要投入大量的人力资源,而且由于难以做到精确控制设备的运行而产生大量的电力浪费,从而增加了运行成本。因此,只有采用先进的智能化控制技术,才能从根本上解决问题。 3 冷冻机房智能控制系统设计原理 3.1 智能化控制系统的构成 冷冻机房智能化控制系统由冷水机组自动控制系统及两个相对独立的分控(中心)组合构成,即:二级冷冻泵变频控制系统、冷却塔变频控制系统。并分别通过MODBUS-RTU及PROFIBUS-DP标准通讯方式与冷冻机房控制系统连接集成为群控系统,机房群控系统仅对两分控(中心)进行监视和读取数据但不进行具体的控制。 机房群控系统所控制设备:冷水机组、一级冷冻泵、二级冷冻泵、冷却泵及与设备相关的电动阀门。冷水机组群控系统监控网络结构图参见图1。 图1 系统监控网络结构图 3.2 冷水机组群控系统的控制原理 (1)系统的启动控制程序参见图2。 (2)系统的关闭控制程序参见图3。 3.3 制冷主机房设备智能运化行管理控制程序 会展中心空调区域按二级冷冻水系统划分为六个(区域)环路,根据展览馆非二十四小时运行的状况,对相关的设备分为三个控制阶段: (1)系统的起始控制阶段 根据建筑楼宇自动化控制系统(BAS)提供的所设定需要使用的空调(区域)环路: 环路一:展馆 6 、 7 、 14、 15; 环路二:展馆 1、 2 、 9 、 10; 环路三:展馆 3 、 8 、11 、 16; 环路四:展馆 4、 5、 12 、 13; 环路五:餐厅; 环路六:办公室; 群控系统根据BAS控制系统确定使用的空调区域指令,打开分水器上相关的供水支管电动阀门并输出电信号,电脑确认阀门开启后,群控系统通过通讯方式(MODBUS)指令二级变频冷冻泵控制系统开启相应的二级冷冻泵组合及相关电动阀门。各区域二级冷冻泵开启的数量及电机频率的调整,由二级冷冻泵控制系统自动控制,群控系统监视其水泵的运行状态及读取数据。群控系统在指令二级冷冻泵系统起动五分钟(待管网水流相对平稳,可根据需要调整)后,群控系统将根据BAS系统选择的供水区域的冷量(由设计确定)Q(KW),计算出所要开启的机组类型及数量,通过通讯方式(BROFIBUS)指令冷却塔变频控制统开启与之相对应冷却塔。冷却风扇电机的频率调整,由冷却塔系统自动控制,群控系统监视其冷却风机的运行状态及读取数据。群控系统确认冷却风机运转后,开启相关的冷却水泵、一级冷冻水泵(包括与之联锁的电动阀门),并指令开启相应的冷水机组,设备运行正常三十分钟(根据冷水机组安全运需要,可调整)后,群控系统将结束初始阶段控制,继而转而进入中间(即正常化)控制阶段。 |
|
|
上一篇: AB变频器PF400在中央空调系统中的设计和应用 下一篇: 基于LONWORKS楼宇自控的台达PLC网络应用 |


